1. PRIMEROS PASOS
Felicitaciones por su compra de la afiladora universal de herramientas ELITE mini.
Lea esta guía antes de comenzar.
La ELITE mini es una afiladora universal de herramientas que permite multitud de trabajos de afilado diferentes según los variados accesorios incluidos con la máquina.
Puede ver el catálogo del producto en el siguiente enlace: ELITE mini
Este manual le presenta las principales funciones de la afiladora con el fin de evitar riesgos para su salud o que puedan causar una avería o un desgaste prematuro de la máquina.
En caso de duda, póngase en contacto con nosotros o con uno de nuestros distribuidores autorizados.
Nota Informativa: El uso descrito en el manual de esta afiladora universal descrito en el mismo puede presentar algunas variaciones de uso ya que nuestra maquinaria está sujeta a posibles modificaciones constructivas, dependiendo de la incorporación de avances tecnológicos en nuestros equipos de afilado.
2.SEGURIDAD
2.1.Normas de seguridad
Observe y aplique cuidadosamente las siguientes reglas de seguridad, el incumplimiento de estas reglas puede causar lesiones personales o daños a la máquina misma.
La instalación y el mantenimiento de la máquina descritos en este manual deben ser realizados únicamente por operadores que estén familiarizados con su funcionamiento y tengan suficientes conocimientos técnicos.
Las afiladoras universales de la gama ELITE mini han sido diseñadas para el afilado de herramientas, excluyendo cualquier otro tipo de operación.
PELIGRO ALTO VOLTAJE
PELIGRO DE ACCIDENTE
PELIGRO POR PROYECCIÓN DE CHISPA
UTILICE ZAPATOS PROTECTORES
PELIGRO DE HERRAMIENTAS AFILADAS
USE PROTECTORES AUDITIVOS
2.2 Instrucciones de seguridad adicionales para la afiladora universal
Condiciones ambientales:
La máquina está prevista para trabajar en las siguientes condiciones ambientales:
- Humedad max. 70%
- Temperatura +5ºC a +40ºC
- Altura max. 1000 m.
La máquina no está diseñada para uso al aire libre.
La máquina no está diseñada para funcionar en condiciones explosivas.
La máquina debe estar bien conectada a tierra.
Desconectar de la red eléctrica antes de reparar la máquina.
La tensión de alimentación no debe superar el 10% del voltaje especificado de la máquina de lo contrario los componentes eléctricos podrían dañarse.
Las protecciones de seguridad en la muela deben ser completas y en buen estado sin ser desmontadas o modificadas por casualidad.
No toque el conector de alimentación o el interruptor eléctrico involuntariamente. A fin de prevenir accidentes.
Cuando la herramienta se aproxima a la muela abrasiva debe de estar bajo supervisión, el afilado debe ser suave y lo suficientemente lento como para mantener la seguridad.
Cuando la herramienta se encuentra suelta, o se sale fuera, o la muela abrasiva está dañada, pare inmediatamente la máquina para evitar accidentes.
Si la máquina no se utiliza por más de un mes en una estación húmeda, los componentes eléctricos deben ser inspeccionados antes de usar. En primer lugar, deje que el motor funcione en vacío durante media hora al 1 / 3 de la carga especificada para eliminar la humedad, si es necesario. Entonces la máquina puede usarse a pleno rendimiento.
Al cambiar los rodamientos del eje de cabezal de afilado debe medir la posición del eje interior y exterior de los rodamientos y ajustar la diferencia de longitud del mango interior y exterior en consecuencia. Si no puede ajustarlo, cambie el manguito interior y exterior y luego cambie los rodamientos.
Estas advertencias no incluyen todos los posibles riesgos que podría ocasionar un uso inadecuado de la máquina. Por ello, el operador debe proceder con prudencia y observando las normas.
2.3 Uso prohibido
Nunca use la máquina fuera de los límites especificados en este manual.
El uso de la máquina sin los dispositivos de seguridad está prohibido.
El desmantelamiento o la desactivación de los dispositivos de seguridad están prohibidos.
Está prohibido el uso de la máquina con materiales que no se mencionan explícitamente en este manual.
Cualquier cambio en el diseño de la máquina es inadmisible.
El uso de la máquina de forma o para fines que no son 100% equivalentes con las instrucciones de este manual, están prohibidos.
Por un uso diferente o adicional y como resultado por los daños materiales o lesiones, ELITE no se hará responsable y no aceptará ninguna garantía.
2.4 Uso y conservación del manual de instrucciones
Este manual de instrucciones debe ser leído y comprendido por todo el personal que entre en contacto con la máquina.
Esta guía es para:
- Indicar el uso correcto de la máquina según el tipo de trabajo a realizar.
- Proporcionar las instrucciones necesarias para el transporte, ajuste y mantenimiento de la máquina.
- Facilitar el pedido de repuestos e información de riesgos.
Límites de uso del manual:
La máquina está destinada a un uso profesional y, por lo tanto, la experiencia del operador es necesaria y de vital importancia.
Importancia y conservación del manual:
Este manual debe considerarse parte integrante de la máquina y, por lo tanto, debe permanecer junto a ella hasta el final de su uso.
Información adicional y aclaraciones:
El usuario, propietario o persona de mantenimiento puede ponerse en contacto con el fabricante para solicitar cualquier información adicional sobre el uso de la máquina y las posibles modalidades de intervención de mantenimiento y reparación.
Caducidad de la responsabilidad:
El fabricante se considera exento de cualquier responsabilidad en caso de:
- Uso inadecuado de la máquina
- Uso de la máquina por personas no capacitadas
- Fallos graves en el mantenimiento programado
- Intervenciones o modificaciones no autorizadas
- Uso de repuestos no originales.
2.3.Declaración de conformidad
Por la presente, la empresa:
Elite Machines, SLU
Joan Oró, 27
ES-08635 Sant Esteve Sesrovires
Declara que el producto que se indica a continuación, en base a su concepción y construcción, así como la versión puesta en el mercado por nuestra empresa, cumple con los requisitos básicos de seguridad y salud obligatorios de la directiva CE.
Esta declaración pierde su validez en caso de modificaciones no autorizadas del producto.
Nombre del producto: ELITE mini
Tipo de producto: Afiladora universal de herramientas
Número de serie.: __
Competencias Directivas CE:
- Directiva para maquinaria CE (2006/42/CE)
- Directiva europea sobre compatibilidad electromagnética (2014/30/UE)
- Los fines de protección de la directiva de baja tensión CE (2006/95/CE) se cumplieron de acuerdo con el anexo I, nr. 1.5.1 de la directiva de máquinas 2006/42/CE
La documentación técnica fue compilada por el representante legal de la documentación:
Sergi Valls Gramunt
Joan Oró, 27
ES-08635 Sant Esteve Sesrovires
Fecha / fabricante - Firma: __
Datos del firmante: Sergi Valls Gramunt, gerente
3.DATOS TÉCNICOS
En la siguiente tabla de información, encuentre la lista de especificaciones técnicas de la afiladora descrita en este manual.
| DATOS TÉCNICOS | ELITE mini |
|---|---|
| Potencia del motor de la muela abrasiva | 0,33 CV |
| Velocidad de rotación de la muela abrasiva | 2900 RPM |
| Diámetro de la muela abrasiva | Hasta ø125 mm. |
| Dimensiones de la mesa de trabajo | 470 x 133 mm |
| Desplazamiento longitudinal de la mesa de trabajo | 320 mm. |
| Desplazamiento transversal de la mesa de trabajo | 140 mm. |
| Recorrido vertical | 190 mm. |
| Rotación vertical | De +40º a -40º |
| Rotación horizontal | 180º |
| Inclinación horizontal | De +50º a -50º |
4.TRANSPORTE
La ELITE mini se entrega embalada en una caja de madera.
Durante todo el transporte y traslado, la máquina debe mantenerse en su posición vertical original, cualquier variación en esta posición puede dar lugar a la pérdida de la garantía.

| Modelo | Tamaño del embalaje | Peso |
|---|---|---|
| ELITE mini | 1050 x 850 x 1100 mm. | 265 Kg. |
4.1.Instrucciones de desembalaje y montaje
Tenga especial cuidado al levantar la carga: ¡La carga puede no estar centrada!
Para levantar o mover la carga, utilice un montacargas con hojas lo suficientemente largas para soportar la máquina, teniendo en cuenta el ancho y la profundidad de la máquina para el cálculo de los pesos a levantar.
Una vez abierto el embalaje, quite los topes de fijación de los pies de la máquina


Eleve la máquina con cinchas de seguridad o equipamiento adecuado para un peso mínimo de 300kg y colóquela encima de su pedestal.
IMPORTANTE: Tenga cuidado con el cable de alimentación de la máquina
Fije la máquina a la base mediante los tres tornillos suministrados en los orificios aquí indicados.


Una vez ubicada la máquina en su ubicación definitiva, también ya puede retirar la película protectora y demás protecciones de los componentes, que fijan e impiden que la máquina se mueva.
5. INSTALACIÓN
5.1.Colocación de la máquina
Antes de cualquier trabajo asegurarse de que la máquina esté bien alineada y no oscile en ninguno de sus extremos, en cuyo caso deberá calzarse para evitar movimientos. Para su correcto nivelado es necesario utilizar una herramienta niveladora. Este control debe realizarse tanto longitudinal como transversalmente.

Una mala nivelación de la máquina puede provocar vibraciones no deseadas y un desgaste prematuro de las guías lineales.
ATENCIÓN: La máquina no debe ser utilizada bajo ningún concepto por personal no cualificado o no autorizado.
5.2.Conexión eléctrica

¡PELIGRO ALTO VOLTAJE!
Recuerde: antes de conectar la máquina, retire cualquier protección que pueda tener la máquina para proteger los componentes durante el transporte.
La conexión eléctrica de la máquina debe ser realizada por personal técnico cualificado únicamente a la tensión indicada en el pedido de la máquina / placa de identificación de la máquina.
Ante cualquier duda sobre el voltaje consultar con el fabricante antes de la conexión.
Cualquier reclamación por una conexión incorrecta quedará fuera de garantía.
Cable de extensión
Asegúrese de que el cable de extensión está en buenas condiciones y apto para la transmisión de energía. Un cable inferior reduce la transferencia de la energía y se calienta considerablemente. La siguiente tabla muestra el tamaño correcto en función de la corriente y la longitud.
| Amperios | Cable de extensión | Cable de extensión | Cable de extensión | Cable de extensión | Cable de extensión | Cable de extensión |
|---|---|---|---|---|---|---|
| 8 m | 16 m | 24 m | 33 m | 50 m | 66 m | |
| < 5 A | 16 | 16 | 16 | 14 | 12 | 12 |
| 5 a 8 A | 16 | 16 | 14 | 12 | 10 | n.r |
| 8 a 12 A | 14 | 14 | 12 | 10 | n.r | n.r |
| 12 a 15 A | 12 | 12 | 10 | 10 | n.r | n.r |
| 15 a 20 A | 10 | 10 | 10 | n.r | n.r | n.r |
| 20 a 30 A | 10 | n.r | n.r. | n.r | n.r | n.r |
n.r = No se recomienda
5.3.Principales componentes de la máquina

- Bancada
- Mesa deslizante
- Mesa de trabajo
- Pomo de ajuste
- Bloqueo de posicionamiento
- Volante
- Palanca de ajuste
- Soporte del disco de lijado
- Cubierta de protección
- Tornillo de fijación
- Volante
- Columna
- Palanca de ajuste
- Volante
5.4. Funciones de la máquina
- Afilado de fresas cilíndricas
- Afilado de fresas monoangulares
- Afilado de fresas de ranurado en T
- Afilado de fresas de tres corte
- Afilado de fresas frontales
- Afilado de discos de sierra
- Afilado de herramientas de tallado
- Afilado de machos de roscar
- Afilado de brocas helicoidales
- Afilado de herramientas para tornos
- Afilado de escariadores
- Afilado de fresas madre para engranajes
- Afilado de piñón cortador
- Afilado plano
5.5. Afilado de herramientas de corte

5.6 Formas de brocas

5.7 Ejemplos de aplicación

6. PUESTA EN MARCHA
En esta sección le mostramos cómo operar la ELITE mini para su funcionamiento.

NOTA: Los datos que aparecen en las diferentes imágenes son a modo de ejemplo, cada tipo de herramienta tiene sus datos recomendados y un operario experto debe conocerlos.
Parada de emergencia
Es el botón rojo redondo. En el caso de que haya una avería en el uso o se esté creando una situación de peligro, permite la desconexión inmediata de la máquina.
No debe usarse a menos que sea estrictamente necesario.
Una vez utilizada, para volver a utilizar la máquina, debe tirar de él para volver a la posición inicial, se necesita una referencia y una configuración adicionales.

ADVERTENCIA: Bajo ninguna circunstancia se debe modificar o manipular este control, esto automáticamente pone al operador y a las personas a su alrededor en peligro de lesiones graves.
Operación de afilado
Para iniciar el proceso de afilado, primero debe asegurarse de que el botón de parada de emergencia no esté activado.
PELIGRO: nunca manipule los botones del panel de control mientras cambia la rueda abrasiva: peligro de lesiones muy graves. Se recomienda encarecidamente apagar y desconectar de la red eléctrica la máquina cuando se trabaje en su interior.

ATENCIÓN: antes que empiece a girar la muela asegúrese de que esté bien fijada la muela o el portamuelas donde se encuentra y que NADIE esté manipulando en la zona donde gira. BAJO NINGUNA CIRCUNSTANCIA SE DEBE ARRANCAR LA RUEDA MIENTRAS ALGUIEN LA MANIPULA.
6.1.Afilado de fresas cilíndricas (ángulo trasero)
La plantilla de ápices de vástago doble se fija en la máquina. El soporte de la herramienta de corte se encuentra en el tope de la mordaza. El tope de la mordaza se fija en la mesa de deslizamiento. El extremo del tope de la mordaza será de 3-5mm más bajo que la línea central del vástago. La mano derecha gira el vástago diente por diente, y la mano izquierda mueve la mesa de trabajo en longitudinal y afila la herramienta de corte.
Prestar atención a que la herramienta de corte no se salga de la mordaza cuando la mesa de trabajo se mueve a los lados.

6.2. Afilado de fresas monoangulares
La plantilla del vástago se fija en la máquina. La muela abrasiva se inclina hacia abajo 3º-5º. El portaherramientas se desplaza 90º-92º a la izquierda y se fija. El tope de la mordaza se levanta hasta la frontal de la herramienta de corte. La mano derecha indica la herramienta de corte, la mano izquierda mueve la mesa de trabajo en sentido longitudinal y afila la fresa.

6.3. Afilado de fresas de ranurado en T
Usaremos el accesorio de sujeción para fresas de vástago recto. Necesitará también el manguito de broca para fresas de vástago cónico. El manguito de broca se puede poner directamente en el orificio del eje del portaherramientas. La muela abrasiva se inclina hacia abajo 3º-10º y se sujeta por el ángulo del respaldo. El tope de la mordaza se levanta hacia el lado de la fresa frontal. La mano derecha indica la herramienta de corte, la mano izquierda mueve la mesa de trabajo en sentido longitudinal y afila la fresa.
6.4. Afilado de fresas de tres cortes
Afilado del lado derecho
La plantilla del vástago se fija en la máquina. El tope de la mordaza se levanta a la parte frontal de la fresa. La mano derecha mueve la herramienta de corte, la mano izquierda mueve la mesa de trabajo en sentido transversal y afila la fresa.
Afilado lateral
Para afilar la parte superior de la fresa, la uñeta indexadora se utiliza para indexar la fresa. El eje del portaherramientas se inclina hacia arriba 6º-8º y se mueve 83º-88º de izquierda a derecha y se fija. La mano derecha indica la herramienta de corte, la mano izquierda mueve la mesa de trabajo en sentido transversal y afila la fresa.
Si el usuario quiere afilar más de una fresa de tres cortes al mismo tiempo, puede fijarlos en el accesorio de vástago y utilizar la plantilla de ápices de vástago doble para afilar.

6.5. Afilado de fresas frontales
Afilado de la parte externa
Afloje el perno y gire la columna (12) a la derecha, con un ángulo de 30º y luego fíjela. Coloque la fresa en las pinzas del portaherramientas. Fijar la mordaza en la mesa de trabajo. Coloque el soporte de la fresa en el tope de la mordaza. Mueva la mesa de trabajo de izquierda a derecha, mientras que gira el eje del portaherramientas y afila. Cuando afile el ángulo del respaldo, el eje de la muela abrasiva y el eje del portaherramientas se ajustan hacia arriba y hacia abajo para el afilado final.

Afilado de cortadores
Gire el soporte del cabezal al ángulo de 85º-90º, gire la columna a la izquierda en un ángulo de 60º y fíjelos por separado. Mantener el centro de la muela abrasiva 5-10mm más bajo del centro de la hoja, y también mantener la hoja en posición horizontal. El índice de escala en la cola apunta en la hoja. La tuerca en la parte trasera se aprieta. La mesa de trabajo se mueve de derecha a izquierda y se afila.
6.6. Afilado de discos de sierra
Se utilizará la plantilla de vástago o la plantilla de vástago de ápices doble. El tope de la mordaza está frente al disco. El eje de la muela abrasiva se inclina hacia arriba 5º-10º para decidir el ángulo trasero. Los dientes del disco deben ser afilados uno por uno.

6.7. Afilado de buriles
La herramienta de corte se coloca en el vástago del portaherramientas.
El portaherramientas se gira a la derecha en un ángulo de 60º. El bloqueo de posicionamiento se fija en una posición adecuada. El motor del cabezal de afilado y del portaherramientas se iniciarán por separado, de modo que la muela de lijado y la pieza giran en sentidos opuestos. Use el volante (6) para la alimentación. Mueva la mesa de trabajo y afile.

6.8. Afilado de macho de roscar
La plantilla de ápice y la muela tipo cóncavo se usará. La herramienta de corte se fija en el tope de la mordaza. La mano derecha mueve el diente de la herramienta. La mano izquierda mueve la mesa de trabajo y afila.
6.9. Afilado de brocas
La plantilla de brocas y la muela plana será utilizados. El portaherramientas se gira a la izquierda en un ángulo de 55º-60º y se fija. Poner la broca en el soporte. Deje que la placa de dientes apunte al labio de la broca. Fije el labio la broca y quitar la placa de indexado de dientes. Gire el volante y afile. El rango de diámetro de la broca a afilar es de 5 a 32 mm.

6.10. Afilado de herramientas de torno
Se utilizarán el cabezal divisor y el soporte de herramientas para tornos. El cabezal divisor se utiliza para ajustar el ángulo de la cuchilla. Fije la cuchilla después de ajustar. Mueva la mesa de trabajo y afile.
6.11. Afilado de escariadores
La plantilla de vástago doble y la muela tipo cóncavo se usarán. El tope de la mordaza se levanta a la parte interna de la cuchilla. La mano derecha separa el diente. La mano izquierda mueve la mesa de trabajo en sentido transversal y afila.
6.12. Afilado de fresas madre para engranajes
El vástago y la plantilla de vástago doble se utilizará. El tope de la mordaza se levanta frente a la cuchilla. Utilice las dos manos para realizar el afilado.
6.13. Afilado de piñón cortador
Se usarán el cabezal motorizado y la plantilla de vástago. Gire a la derecha la columna en un ángulo de 30º. Gire el portaherramientas a la izquierda en un ángulo de 75º-80º y fíjelo. Pulse el botón para activar el giro del cabezal motorizado y la muela abrasiva. Mover la mesa de trabajo en sentido transversal y afile.
6.14 Afilado plano
Se debe fijar el plato electromagnético en la mesa de trabajo para hacer el afilado plano.
7. FUNCIONAMIENTO DEL TRABAJO
8.MANTENIMIENTO
8.1.Mantenimiento preventivo
El mantenimiento de las afiladoras ELITE modelo mini es muy sencillo pero a la vez importante.

ATENCIÓN: No limpie o haga el mantenimiento de la máquina mientras está conectada a la fuente de energía, puede dañar a la máquina y a la persona. Apague la máquina y desconéctela de la fuente de alimentación antes de llevar a cabo cualquier trabajo de mantenimiento o limpieza
La máquina es de bajo mantenimiento y contiene sólo unas pocas partes, que deben someterse a mantenimiento.
Cualquier avería o defecto que pueda afectar la seguridad de la máquina, debe ser eliminada inmediatamente.
La limpieza completa asegura una larga vida a la máquina y es un requisito de seguridad. El uso de disolventes, productos químicos agresivos o productos de limpieza abrasivos pueden dañar la carcasa de la máquina. Para la limpieza use sólo detergentes suaves.
Aplicar una capa ligera de anticorrosivo (por ejemplo, WD40) en las superficies sin pintar de la máquina.
Después de cada turno de trabajo, la máquina y todas sus piezas se limpian a fondo de polvo y las virutas con el aspirador. No usar aire comprimido para su limpieza, pues encastra las partículas dentro de las guías y rodamientos.
Compruebe con regularidad que todas las advertencias e instrucciones de seguridad están disponibles en la máquina y perfectamente legibles.
Antes de cada uso compruebe el estado de los dispositivos de seguridad.
La máquina no puede ser almacenada en un lugar húmedo y debe de estar protegida de las condiciones meteorológicas.
Los trabajos de reparación sólo pueden ser realizados por personal cualificado.
Utilice el equipo solo en ambientes secos. La temperatura debe estar entre 5 y 40ºC. Una humedad relativa mayor al 90%, así como un ambiente salino, provocaría la corrosión prematura de la máquina.
La falta de mantenimiento anulará la garantía y las reclamaciones de garantía.
8.1.Esquema eléctrico

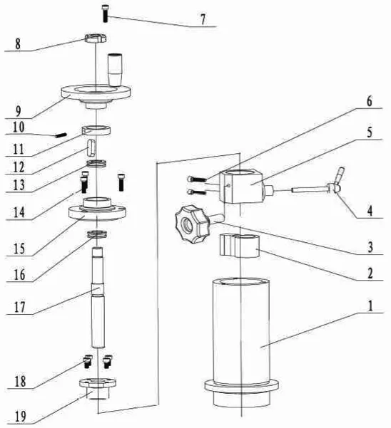
8.2.Despiece
Partes del cuerpo de la máquina
| Nr. | Descripción | Cantidad |
|---|---|---|
| B-1 | Base | 1 |
| B-2 | Turca del husillo | 1 |
| B-3 | Arandela | 2 |
| B-3 | Pin | 2 |
| B-5 | Tornillo | 2 |
| B-6 | Tornillo | 3 |
| B-7 | Tuerca hexagonal | 3 |
| B-8 | Arandela | 3 |
| B-9 | Soporte guía | 1 |
| B-10 | Tornillo | 3 |
| B-11 | Tuerca hexagonal | 3 |
| B-12 | Arandela | 3 |
| B-13 | Soporte guía | 1 |
| B-14 | Mesa de trabajo | 1 |
| B-15 | Base de la columna | 1 |
| B-16 | Arandela | 2 |
| B-17 | Tornillo | 2 |
| B-18 | Tuerca T | 1 |
| B-19 | Final de carrera | 1 |
| B-20 | Tornillo de ajuste | 1 |
| B-21 | Tornillo de bloqueo | 1 |
| B-22 | Tornillo de ajuste | 1 |
| B-23 | Tornillo de bloqueo | 1 |
| B-24 | Final de carrera | 1 |
| B-25 | Tuerca | 1 |
| B-26 | Tornillo | 2 |
| B-27 | Tope de bloqueo | 1 |
| B-28 | Guía | 1 |
| B-29 | Husillo | 1 |
| B-30 | Pin | 1 |
| B-31 | Disco del husillo | 1 |
| B-32 | Tornillo | 3 |
| B-33 | Arandela de fricción | 1 |
| B-34 | Pomo | 1 |
| B-35 | Tornillo | 1 |
| B-36 | Arandela | 1 |
| B-37 | Tornillo | 1 |
| B-38 | Arandela | 1 |
| B-39 | Volante | 1 |
| B-40 | Arandela | 1 |
| B-41 | Arandela de fricción | 1 |
| B-42 | Tornillo | 2 |
| B-43 | Rodamiento | 1 |
| B-44 | Rodamiento | 1 |
| B-45 | Disco del husillo | 1 |
| B-46 | Pin | 1 |
| B-47 | Husillo | 1 |

Columna de la máquina
| Nr. | Descripción | Cantidad |
|---|---|---|
| C-1 | Pilar | 1 |
| C-2 | Tuerca | 1 |
| C-3 | Leva de bloqueo | 1 |
| C-3 | Leva de bloqueo | 1 |
| C-5 | Cuerpo | 1 |
| C-6 | Tornillo | 2 |
| C-7 | Tornillo | 1 |
| C-8 | Tuerca de bloqueo | 1 |
| C-9 | Volante | 1 |
| C-10 | Tornillo | 1 |
| C-11 | Nonio | 1 |
| C-12 | Pin | 1 |
| C-13 | Rodamiento | 1 |
| C-14 | Tornillo | 3 |
| C-15 | Cubierta graduada | 1 |
| C-16 | Rodamiento | 1 |
| C-17 | Husillo | 1 |
| C-18 | Tornillo | 3 |
| C-19 | Tuerca | 1 |

8.3. Pedido de repuestos
Para las máquinas ELITE utilice siempre repuestos originales para reparar la máquina.
El ajuste óptimo de las piezas reduce el tiempo de instalación, aumenta la seguridad de uso y preserva la vida de la máquina.
Para cualquier consulta contáctenos o acuda a su distribuidor.
9. GARANTÍA
Todas nuestras máquinas se prueban antes de ser enviadas. Sin embargo, siempre puede haber defectos que no son observables a primera vista.
Nuestras máquinas están garantizadas contra defectos de fabricación o materiales en condiciones normales de uso y mantenimiento.
El periodo de esta garantía es de 12 meses desde la fecha de compra y consiste en la reposición del material defectuoso.
La garantía quedará automáticamente anulada en caso de modificación ajena a nuestra empresa. O en casos manifiestos de mal uso de la máquina.
La garantía no incluye piezas sujetas a desgaste normal por el uso como patines, cartucho de lubricación, abrasivos, etc.